• マイページ
  • 小説を探す
  • ネクスト
  • 書籍化作品
KADOKAWA Group
  • ログイン
  • 新規登録(無料)

平松 賀正

  • @hiramatsu_gasyo
  • 2022年3月26日に登録
  • ラブコメ
  • 現代ファンタジー
Hiramatsu_Gasyo
    • ホーム
    • 小説2
    • 近況ノート20
    • 小説のフォロー1
2022年3月31日 08:37

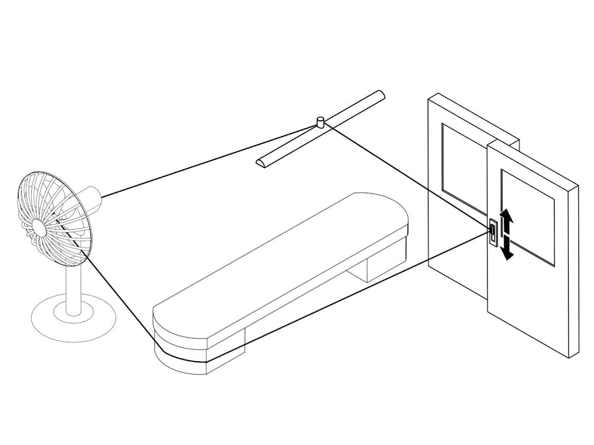
小説用画像その3(トリックネタバレ)

パソコン盗難事件のトリック解説図です。
(#07 変身 にて使用)
平松 賀正
  • X
  • Facebook
  • はてなブックマーク

コメント

コメントの投稿にはユーザー登録(無料)が必要です。もしくは、ログイン
投稿する
小説用画像その4
小説用画像その2

最近の記事

  • 小説用画像その20(トリックネタバレ)

    • 2022年5月24日
  • 小説用画像その19(トリックネタバレ)

    • 2022年5月24日
  • 小説用画像その18

    • 2022年5月17日
  • 小説用画像その17

    • 2022年5月17日
  • 小説用画像その16

    • 2022年5月17日
  • 小説用画像その15

    • 2022年5月17日
  • 小説用画像その14

    • 2022年5月17日